請教先進,關於策略停損問題

  •   102 
  • 最後發表   LingYu  2023 八月 06
LingYu 發文於   2023/07/27

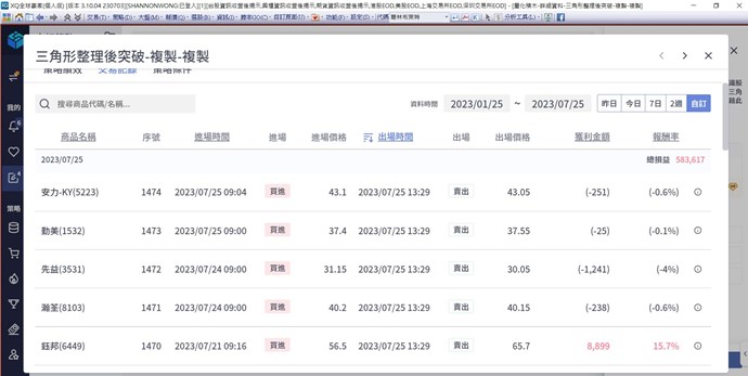
請教先進,圖片中的策略停損點設-15%
但為何標的沒到停損點就出場呢?
第一次發表文章,如有不妥處請指教,謝謝~

 

排序方式: 標準 | 最新
XQ小幫手 發文於   2023/08/02

Hello LingYu,

 

就您的截圖來看,當時最新的日期就是到 7/25 日。

策略在計算績效時會假設所有的未平倉交易在最新一天結束時出場,這樣才能夠計算。

但實際上是沒有出場的。

LingYu 發文於   2023/08/06

謝謝小幫手回覆~

發表回覆
Close