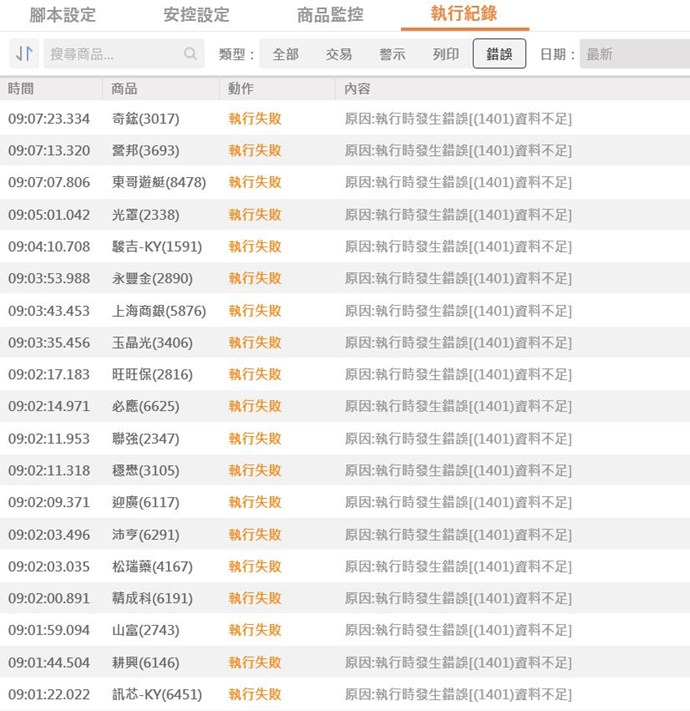
自動交易狀態異常-原因:執行時發生錯誤(1401)資料不足
按[重啟]也仍然出現相同的錯誤
請問該如何處理
自動交易狀態異常-原因執行時發生錯誤(1401)資料不足
- 218
- 最後發表 莉莉 2023 十一月 14
莉莉
發文於
2023/11/07

而且1790檔普通股當中,有1430檔正常,有360檔異常,可能是什麼原因呢??
XQ小幫手
發文於
2023/11/14
Hello, 莉莉.
請問您目前還有這樣的狀況嗎?
由於您沒有提供策略相關設定,所以小幫手無法確定。
麻煩您提供 自動交易匯出檔勾選(包含)腳本、有問題的商品以及發生的日期時間、XQ Log 來檢驗。
Log資料夾(預設路徑:C:\SysJust\XQLite\LOG)直接壓縮後提供即可。
您可以直接將檔案上傳,如果檔案過大的話也可以保存到雲端後將連結Mail至客服信箱 XQservice@XQ.com.tw 且務必附上 討論文章連結網址(小幫手才能盡早處理)。
感謝。
2 評論